I can only imagine it was all part of evolution they dont appear to have kept that mod long before grommets were used.
Well, a bit unfair to call Roy Georgeās precision tuning a āmodā imo. I just think itās a case of mk1 vs mk2. And mk1 was between 1987-1992 and mk2 was 1992-1996. I would love to dig deeper into IBL knowledge though. So anyone in the know, please share with us.
Trust me, the mk1 config works fine, itās my favourite speakers ever. I donāt know what I would do without them. Listening to them with Klimax LP12 and 552/500 right now.
This document describe upgrade from mk1 to mk2. With additional message from Steven Hopkins at naim.
"Hi
MK2 had two pieces of grey reticulated foam behind the bass units and 15g wool behind tweeter, see attached
Regards
Steven Hopkins"
Ah, you have the IBL update docs, which is good and explains a fair bit.
It might also help if I fill in the story on the IBL mid/bass unit evolution;
From '89 until March '91 Naim bought the complete unit from Electro Acoustics until EA were bought by Harman and closed down. Naim made a large last time buy to give some time to look elsewhere.
From April '92 until September '93 Naim used the 130NC/B0492 Iss.A driver from Mordaunt Short with in-house modifications.
From September '93 until the end of production Naim bought the Dorma 5" chassis from KEF/GP Acoustics and built the entire unit in house.
Thanks for this thats helpful.
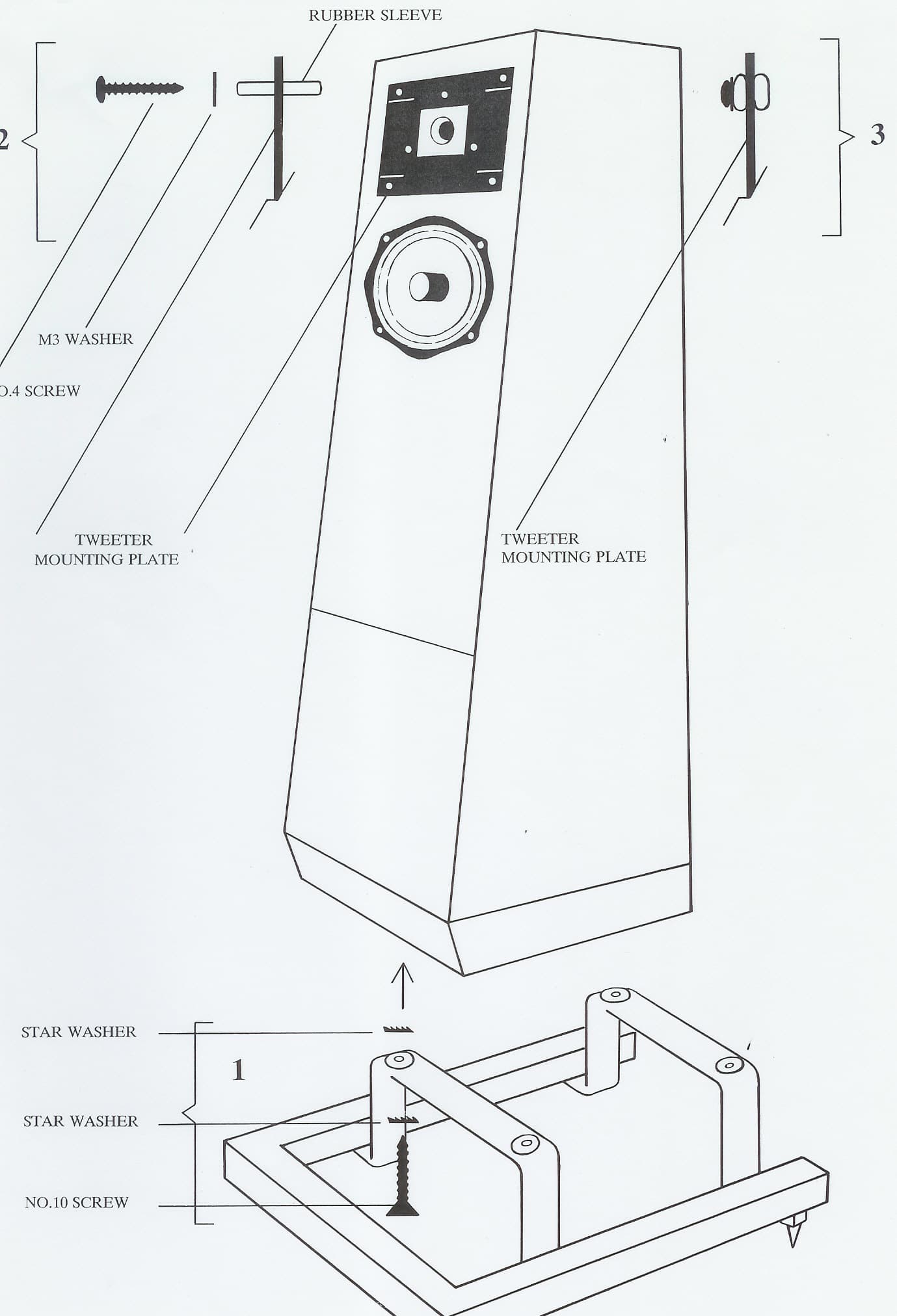
Iām struggling with the treble set up as it is here. There are 1 inch screws holding the plate in, they have smashed through the veneer on the backside of the baffle, I donāt think this was as intended, I would imagine the original screw would have been 12mm.
I think these date to 1988, so the original EA ones. The reason I asked what mine were is because someone has clearly been in to the mids post, because there was an unfathomable amount of hylmar, its everywhere in side on the foams etc.
You can see from the picture
So question is, did they get replaced at any time. The paper is textured almost like carbon fibre the rubber surround glue etc impeccable, they are very neat. But no identifying marks apart from a partially obscured faded text.
The label on the back seems to indicate the mid/bass units are the modified Mordaunt Short ones. So, of the serial numbers are early then maybe they were likely replaced at some point.
MK1“s are my favourites too ![]()
And I donĀ“t think itās good to āupgradeā MK1Ā“s Tweeters suspension to MK 2 only,thatĀ“s not how they are tuned.
But did they use 1 inch screws to put the treble plates to the boxes, this is what I want to know. I am willing to bet no.
Do you have the next page?
No thatās all I got from Mr. Hopkins Iām afraid. I think my screws are shorter yes, they are quite delicate, yours look beefier.
I didnāt bother with the screws and star washers for the stands either. I always wondered how I would know which spec screws they actually mean by āNo.4 Pozidrive screwsā and No.10 Twinfast Pozidrive screws". Is that screw standard language or naim parts language?
btw, I got my my cabinets and drivers clean from hylomar liquid gasket with isopropyl alcohol iirc. Maybe not ideal but seemed to work. Is there a offical way to cleaning up hylomar blue? I did lose the black colour on the cabinets with this method though (on my ādonorā pair, that had been heavily modified by previous owner).
Perplexity AI
Twinfast Pozidrive screws are specialized woodscrews that feature a Pozidrive drive, designed to reduce cam-out (slipping of the screwdriver). They have a countersunk head to enable a flush finish when driven into material. The defining characteristic of Twinfast screws is their twin fast thread, which provides almost twice the thread pitch of ordinary wood screws, allowing for quicker and more secure fastening. These screws are commonly zinc plated for corrosion resistance and used in various woodworking applications for efficient and reliable fastening.
No.4 Pozidrive screws are a type of screw with a Pozidrive drive, which is an improved version of the Phillips screw drive. The Pozidrive design features a cruciform socket with additional radial indentations set at 45 degrees from the main cross, providing greater driver engagement, reducing cam-out (driver slipping), and allowing for higher torque application.
The Pozidrive screws are numbered from 0 to 5 based on the size of the drive, with No.4 being one of the larger sizes commonly used in applications requiring strong fastening, such as frame anchors or other medium to large fasteners. These screws typically come in different head types like pan head or countersunk, and they offer better torque efficiency and reduced screw and driver wear compared to Phillips screws.
The No.4 Pozidrive screw could also be a machine screw or wood screw with specific thread size standards like UNC (Unified National Coarse) threads, as commonly available in the market.
In summary, a No.4 Pozidrive screw is a medium-large size screw with a Pozidrive cross recess drive that is designed to provide more torque, less driver slip, and better fastening efficiency than traditional Phillips screws.
I under stand the pozi drive element, but screws come in certain thicknesses and certain lengths, not specified in the literature, which is also missing half the info, so not terrifically useful unfortunately.
ok thanks quite different from mine screws. Honestly though I see ver little suspension going on the MK 1 design!
There is some interesting information with regard to iBL history in this article, which also may help answer a few questions ā
This topic was automatically closed 60 days after the last reply. New replies are no longer allowed.





